無動力滾刷清掃器
所屬分類:滾刷清掃器
產品簡介:用途:★總則YQXQ-2 系列無動力滾刷式皮帶清掃器是我公司*新研發的新型···
配套服務:支持定制 物流配送 免費安裝 使用培訓
YQXQ-2 系列無動力滾刷式皮帶清掃器是我公司*新研發的新型耐磨清掃器。具備方便更換耐磨滾刷,具有快速清除 皮帶工作皮帶工作面上的物料。高性能防震設計等特點。YQXQ-2 系列無動力滾刷清掃器與YQHPU**道清掃器配套使用,清掃效果更佳。
YQXQ-2 系列無動力清掃器滾刷的材質為進口尼龍絲1010 材質,簡稱PA66 該材質具有高耐磨性。目前僅有美國、德國等極少數國家能夠生產。
獨特的拉緊裝置配合高性能進口軸承,能夠使毛刷在皮帶不斷抖動的情況下,能夠緊密的貼附在皮帶上,始終保持緊貼著皮帶,調節無動力滾刷清掃器滾刷的貼合度無需拆卸清掃器,僅需拉緊上面的花蘭即可。該清掃器清掃效果明顯, 持久耐用,受到用戶的一致好評。
★安裝
本工藝規格適應于各種皮帶輸送機。廣泛用于冶金、建材、化工、熱力電廠、散裝碼頭、煤礦、食品加工等行業.
★清掃器滾刷
本系列產品品種齊全,范圍覆蓋所有帶寬,共計十種規格,用戶可以根據現場使用情況任意選用
★安裝措施
使用清掃器時,必須嚴格執行行業指定的安全規程,安裝前必須切斷電源,安裝完畢,認真檢查設備是否牢固以及 工作現場周圍有無異常后,方可按業主操作要求通電試運 行。
安裝和維護本設備時,需要使用標準機修工具。
產品說明
輸送帶輸送的物料往往帶有粘性物質,如煤塵、泥漿、粉狀物料, 其中一部分會粘在輸送帶工作面上,在卸料時不能完全卸掉,隨著皮帶運轉會粘在托輥上,長時間會造成以下后果:
1. 物料進入托輥的殼體內,從而增大軸承磨損,托輥殼體粘上物料會損傷和拉毛輸送帶的面膠,加速輸送帶損壞。
2. 粘著物進入尾輪和改向滾筒,物料會粘在滾筒表面上,且越粘越多,造成輸送帶跑偏,增加輸送帶磨損,釀成不良后果。
3. 物料粘在驅動滾筒上,加大對滾筒的摩擦力,會引起輸送帶面膠和滾筒包膠層的損壞。
4. 物料沒有及時清除,在整個工作通道內會形成落料區,造成環境污染,清掃勞動量增加,影響員工身心健康,增加企業成本。
因此,為保證帶式輸送機正常運轉,必須將輸送帶上的附著物清掃干凈。如果清掃裝置良好,對托輥、輸送帶等的壽命都可以延長。由此可見,清掃器在帶式輸送機上有著不可忽視的作用。
我公司設計的被動滾刷清掃器用于清掃回程皮帶或卸載滾筒下部皮帶工作面,屬二道或三道清掃器。通過清掃滾刷刷尖與帶面的適當接觸,有效清除皮帶表面的粘附物,并具有防止輸送帶跑偏、預防事故,延長輸送帶及托輥的使用壽命、避免揚塵、改善環境、節約成本等功能。刷毛采用高彈性耐磨尼龍絲,也可采用防靜電高彈性尼龍絲、耐磨橡膠等優質材料制作,適用于各種行業各類帶寬輸送機,尤其對難以用常規清掃器的花紋皮帶效果尤佳,是帶式輸送機*忠實的“清潔工”。
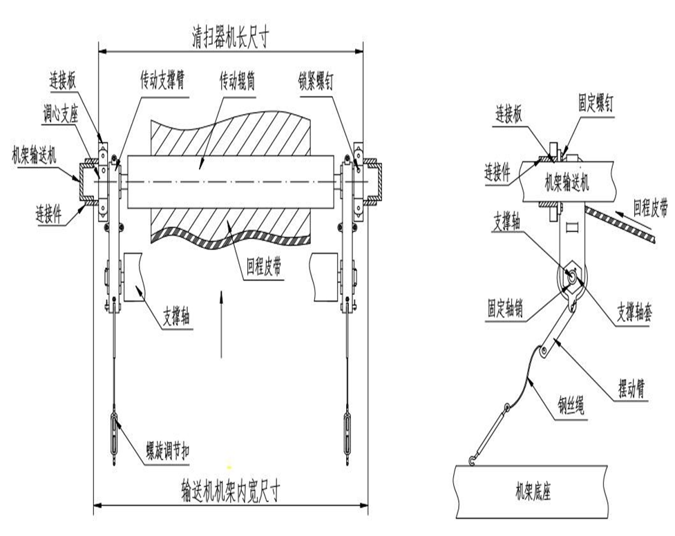
結構示意圖

無動力滾刷皮帶清掃器及安裝尺寸表
單位:mm
型號規格 | 適應帶寬 | 托輥長度 | 刷輥長度 | 中心距 |
YQXQ-2-B500 | 500 | 600 | 500 | 740 |
YQXQ-2-B650 | 650 | 750 | 650 | 890 |
YQXQ-2-B800 | 800 | 950 | 800 | 1090 |
YQXQ-2-B1000 | 1000 | 1150 | 1000 | 1290 |
YQXQ-2-B1200 | 1200 | 1400 | 1200 | 1540 |
YQXQ-2-B1400 | 1400 | 1600 | 1400 | 1740 |
YQXQ-2-B1600 | 1600 | 1800 | 1600 | 1990 |
YQXQ-2-B1800 | 1800 | 2000 | 1800 | 2190 |
YQXQ-2-B2000 | 2000 | 2200 | 2000 | 2420 |
通過兩個支座將清掃器安裝在帶式輸送機的機架上,使傳動輥筒與輸送機回程皮帶的非工作面接觸,并產生適當的壓力。當輸送機運轉時利用摩擦力使傳動托輥跟隨輸送機旋轉,經傳動鏈條帶動清掃滾刷旋轉。清掃滾刷的旋轉方向與回程皮帶的運動方向相反,從而將粘附在回程皮帶工作面上的附著物彈掃下來,達到清掃目的。
YQXQ-2系列無動力滾刷皮帶清掃器是根據目前普遍使用的清掃器存在的缺陷,而創新設計的新產品。其特點如下:
1. 優化設計,便于安裝,調整方便,簡捷實用。
2. 清掃點彈性接觸,方法合理,效果極佳。
3. 對輸送帶無磨損,更無刮傷,有效的延長皮帶的使用壽命
4. 安全可靠,故障率低,使用壽命長,維修費用少。刷毛可采用高彈性尼龍絲,亦可以采用防靜電高彈性尼龍絲,耐磨橡膠等優質材料制作。通用于煤礦、水泥廠、鋼鐵廠、發電廠等各種物料輸送皮帶系統。
YQXQ-2無動力滾刷皮帶清掃器可用于輸送機的頭部清掃,亦可用于中段清掃。如下圖所示:
安裝方法
YQXQ-2系列無動力滾刷皮帶清掃器將其安裝在輸送機機架內,使
“傳動滾筒”在回程皮帶上面,清掃刷輥在回程皮帶下面。如下圖所示:

1. 開箱檢驗:安裝前,首先打開包裝箱,對照《裝箱清單》清點隨機附件是否齊全;
2. 校對型號:測量清掃器的尺寸是否與輸送機尺寸相符。
3. 參照支座上安裝孔的位置尺寸在帶式輸送機的機架上打孔。
4. 摘掉刷輥:先將清掃器兩端的蓋板打開,然后拆掉軸承螺絲,將滾刷從清掃器上摘下來。
5. 傳動托輥在上、清掃滾刷在下的將清掃器穿在回程皮帶上, 再將軸承裝回原位,蓋上蓋板。
6. 用螺栓將支座固定在帶式輸送機的機架上,將清掃器調節到合適的位置,使傳動托輥對皮帶有適當的壓力,擰緊支座上的鎖緊螺釘。
7. 根據鎖具螺旋扣及鋼絲繩的*大長度,在機架的適當位置焊接螺旋扣拉緊桿,將鎖具螺旋扣連接在拉緊桿上,通過螺旋扣調整滾刷的位置,刷毛與皮帶的接觸深度不宜過大,否則將縮短清掃滾刷的使用壽命。
注:開箱后,若暫時不安裝,應將清掃器墊高,避免清掃滾刷的刷毛長時間接觸地面,受壓變形影響清掃效果。
1. 使用過程中,用戶應根據具體情況,制定《維護制度》,定期檢查清掃效果和刷毛與皮帶的接觸深度等,適時調整。
2. 使用過程中刷毛將磨損縮短,當有效部位的刷毛高度小于 30mm, 或清掃效果不理想時,及時更換清掃滾刷。
3. 清掃器累計工作每達 5000 小時,應對清掃器的軸承進行一次清洗或更換潤滑脂。
4. 當輸送機需要更換或修復輸送皮帶時,應摘掉清掃滾刷,避免對
清掃滾刷造成損傷,或影響輸送皮帶的維護工作。
1. 當清掃器的清掃滾刷和傳動托輥均出現旋轉速度不穩定或不正 常停轉現象時,首先檢查支座的鎖緊螺釘是否松動,再檢查傳動托輥對皮帶的壓力是否合適。找到原因后做相應調整。
2. 當清掃器工作時,如果傳動支撐有振動現象,應檢查兩端的傳動支撐是否平行。確定原因后做相應調整。
3. 當清掃器停止旋轉,而鎖緊螺釘及傳動托輥對皮帶壓力均正常時,故障原因應該是內部出現問題。
4. 當清掃器的清掃滾刷反向旋轉,而傳動托輥旋轉方向正常時,故障原因應該是內部出現問題。
5. 內部出現問題時,應由專業技術人員進行診斷處理,或向產品制造商進行咨詢。
訂貨時用戶需提供相應輸送機型號、帶寬,并說明使用環境, 對于在化工、礦井和高粉塵等易燃、易爆的環境下工作,應選用防靜電高彈性耐磨尼龍刷絲或耐磨橡膠刷毛。同時可以定做各種非標清掃器



















微信掃一掃加好友
截屏,微信識別二維碼關注公眾號
微信號:19932387533
(點擊微信號復制,添加好友溝通)